The top 5 accessories for the BlackBerry Z10
From cases to chargers to car kits, we’ve got you covered!
From cases to chargers to car kits, we’ve got you covered!
Got your iPad Mini already? Here are some accessories that need your serious consideration…
O2 has announced that the next HTC handset that will be released on the UK network will not be packaged with a charger in the… Read More »O2’s next HTC flagship smartphone will not come with a mains charger!
Bluetooth 4.0 tech tipped for advanced connectivity with the iPhone 5…
With the Google Nexus 7 Android Jelly Bean tablet just around the corner, we at Gadget Helpline take a look at some of the best… Read More »Top Google Nexus 7 Accessories
Following a completely washed-out Download 2012, Vodafone has announced a somewhat optimistic new festival accessory that’ll not only provide music lovers with a bit of… Read More »Vodafone Booster Brolly Charges Smartphones & Increases Signal for Festival Goers!
Following a completely washed-out Download 2012, Vodafone has announced a somewhat optimistic new festival accessory that’ll not only provide music lovers with a bit of… Read More »Vodafone Booster Brolly Charges Smartphones & Increases Signal for Festival Goers!
Sony is preparing to launch a pair of Xperia branded handsets in its homeland Japan, along with a very unusual charger..
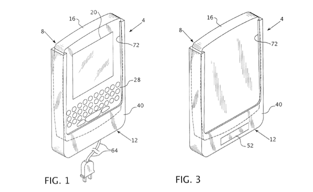
Concept designs for Research in Motion’s new battery charging holster for BlackBerry devices has been revealed in a newly filed patent.
Four new official Galaxy S3 accessories for you to ponder over…