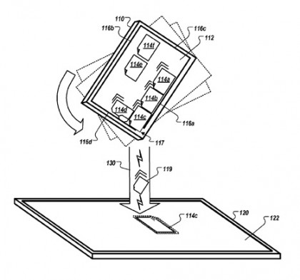
The patent explains a method of ‘pouring’ files from one device into the other, by tilting the former to mimic a pitcher of water. The chosen file would then topple out of one, travel through the ether and – assuming both devices are sharing a network connection – appear on the other display instantly.
The patent has some elaborate ideas as to how this would look, suggesting that “during the transfer, the first device can animate the object to simulate the object leaving the first device and the second device can animate the object to simulate the object entering the second device.” It claims that this could either involve a dissolving animation or a whirlpool-style effect.
The most bizarre part of the patent is a section that suggest users may be able to send a file to other devices by gently blowing it off the screen. Is this kind of intuitive gesture-based file transfer the future of wireless communication, or is Apple just mucking about? Let us know on the Gadget Helpline Twitter feed.

